医院作为一类特殊的公共修建,因其奇异的功效需求、重大的人流量以及重大的装备设施设置,其能耗量显著高于一样平常公共修建。据相关研究显示,医院能耗是通俗公共修建的1.6至2倍。随着社会生长,公众对医疗机构效劳情形和水平的期望一直提高,因此医院能耗也泛起出逐年攀升的趋势,节能事情显得尤为迫切。

医院节能治理通常聚焦于主要供能系统的节能手艺刷新,例如中央空调冷水机组群控、供暖系统战略调优等,此类步伐主要由医院后勤部分牵头,节能厂家主导实验,营业科室加入较少。随着节能技改步伐的日益普及,医院节能空间的挖掘进入瓶颈,但医疗前端的众多医疗装备及其配套装备设施,却始终保存较为突出的用能铺张行为,市场上缺乏针对科室用能的有用解决计划。想要充分挖掘医院节能潜力并建设长效节能机制,必需引发科室节能起劲性,作育科室用能的本钱意识,让各科室深度加入到节能事情中来。
公立医院怎样判断各科室能耗用量是否合理、怎样设定审核标准,是科室能耗治理的要害。目今,部分医院在科室能耗治理中,粗放地使用年度或月度能耗总量举行横向或纵向比照审核,这是不敷科学的,医院能耗审核应接纳人均能耗或万元收入能耗支出等综合指标作为评判标准。
由于各医院在地区、天气、修建结构、功效设计、装备设置和建设年限等方面保存较大差别,每家公立医院的能耗审核标准数值事实上无法统一,甚至难以确认一个明确的规模。因此,公立医院建设完善的能耗审核机制,首先需要明确能耗统计的规模、指标、盘算要领与治理步伐;其次,通过数据剖析过往能耗数据,确定各科室的能耗审核标准,设定医院和科室的标准数值规模,以此评定能耗体现;最后,基于审核机制和能耗数据剖析,找出能耗不对理的缘故原由,提出针对性的节能步伐。
乐天堂官网科室能耗治理实现路径:通过建设可量化的能耗目的,即能耗预算值,并将能耗预算值的误差率作为剖析和指导科室降低能耗的主要手段之一。连系现场能源司理的诊断和用能指导,资助临床科室镌汰能耗预算误差。误差情形将作为量化科室能耗绩效审核的指标。在整个绩效评价期内,可能会爆发科室面积、营业量及营业性子转变的情形,能源司理在识别这些情形后,将参考科室的单位面积能耗、单位营业量能耗、万元收入能耗支出、能耗增添率及能耗值等五项指标举行综合评定,并与绩效治理部分相同后举行预算微调。
科室能耗治理的总体目的是将可量化的科室能耗数据与科室绩效治理步伐相关联,最终实现科室能耗治理意识的提升,增强全院的主观节能意识。乐天堂官网资助医院举行科室能耗治理主要分为以下几步:
一、建设科室能耗模子
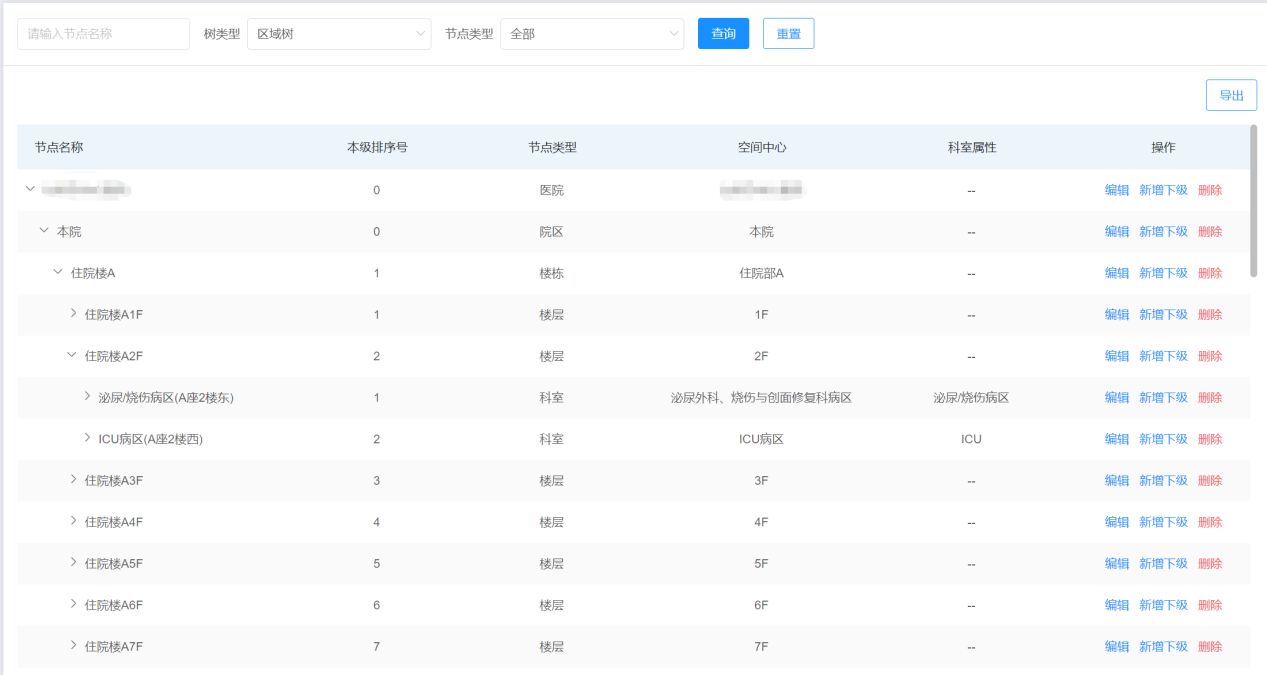
1.1 科室能耗模子的建设与梳理
为实现医院科室能耗的有用治理,主要使命是基于平台建设涵盖院区、楼栋、楼层至科室的四级能耗计量系统。该系统能够资助医院确定装备的科室能耗归属,从而建设完整的科室能耗模子。该历程要求运营职员对医院的空间信息、装备信息举行周全梳理,并凭证现实需要增设计量点位,以确保计量的准确性与实时性。

1.2 未计量科室能耗的合理分摊
在确立计量模子的基础上,针对科室公用的能耗资源,如电梯用能、公共区域照明用能等,制订详细的分摊计划,实现线上自动分摊。与院方深入相同后,乐天堂官网会制订一套既切合医院现适用能情形,又能准确反应各科室能耗的分摊机制。这一机制将凭证各科室的现实运行时间、使用面积、营业量等因素,合理分摊公共能耗,确保各科室能耗数据的准确性。在运营历程中,科室的能耗分摊与计量机制将一连优化,以顺应医院制度的迭代更新及治理需求。

二、选择科室审核指标
在建设起完善的科室能耗分摊和计量计划后,乐天堂官网会与院方配合确定科室审核指标I蠛酥副暧嵌辔,包括能耗增添率、万元收入能耗支出、单位面积能耗和单位营业量能耗等。乐天堂官网的专业运营团队将协助医院明确审核细节、制订审核计划,确I蠛耸虑橛芯菘梢,并起劲推进审核计划的宣传息争答事情,以增进科室的充清楚确和深度加入。
三、设定科室审核目的
3.1 确定能耗审核单位
凭证医院的回路建设和区域能耗模子梳理情形,明确可计量的最小科室审核单位,若病区的单位回路较为清晰,则以病区为审核指标承接单位;若区域四级计量不敷清晰,则以三级节点(如门诊区域以门诊办)作为审核指标承接单位。区别于能耗本钱核算,审核单位简直定原则应基于现场能耗管控行动,以确保能源平台能够有用监测能耗转变。若科室能耗审核单位主要通过能耗分摊的方法统计或分摊比重较大,可能会影响审核的准确性,因此在完成单位监测点位前,不建议举行科室能耗审核管控。
3.2 确定能耗审核周期
鉴于科室属性、就诊工具和诊疗流程的差别,不宜建设横向对标评价系统。同时,思量到季节转变、就诊人群和病症爆发时间的不确定性,也不宜以年为能耗跟踪单位。因此,建议接纳整年审核,逐月跟踪指标的周期频率。即以月度为能耗治理的跟踪单位,年度为审核输出周期。
3.3 明确本周期能耗目的
围绕审核指标估算科室能耗值区间,并连系本周期内全院的能耗节能目的和能耗预算总值,制订今年度各科室的能耗定额指标。其中,临床科室的节能目的值不宜过大,建议控制在历史能耗均值的0.5%-1%以内。
四、跟踪科室能耗用量
制订科室一样平常巡查妄想,按期举行现场巡访,关注科室节能治理步伐的执行情形,并纪录巡查效果;谀芎囊斐>几婢,举行有针对性的区域巡查和询问,相识科室近期的现场转变,增强能源事务治理。以平台数据为依据,跟踪节能效果和科室执行情形,量化节能治理步伐的节能数据,为后续治理上的提升提供数据支持。
乐天堂官网为医院提供的科室能耗治理效劳,不但基于平台资助医院理清科室用能情形、完成审核行动,更深入地协助科室掘客节能空间,实现审核目的。关于未能抵达审核目的或希望进一步深化节能的科室,运营职员可提供节能咨询效劳,凭证平台收罗到的数据和装备用能情形,为科室提供节能诊断,包括但不限于是否有装备可举行运行参数优化,是否有装备关闭不实时等,并提供响应的手艺支持。
五、公示科室审核效果
乐天堂官网运营职员将每月从平台导出科室能耗效果报表,供各科室确认。关于有异议的科室,举行相同与复核。数据确认无误后,将科室用能情形报表和审核效果提交给医院治理层审核。院方相关认真人及各科室认真人可通过平台实时追踪历程数据并审查最终效果。

六、关联能耗审核与绩效
与院方确定能耗审核得分与绩效治理行动的关联,主要步伐可参考以下三类:
乐天堂官网实践案例:
福建某三甲医院希望从科室层面入手,实现全院的节能降耗治理。然而,由于修建信息缺失、空间信息不完善、老院区装备线路重大等问题,科室能耗用度收取率一直缺乏30%。医院希望与乐天堂官网相助,实现科室能耗信息的细腻化治理,将节能责任落实到每个科室,以实现全院的节能目的。
乐天堂官网运营团队迅速响应院方需求,分四个阶段完成了科室能耗治理事情:第一阶段,确认现场硬件安排情形和空间信息;第二阶段,举行线下能耗分摊模拟论证;第三阶段,优化线下分摊;第四阶段,实现周全线上分摊和一连运营。在此历程中,乐天堂官网协助医院梳理了配电房装备回路,基于平台建设了完整的科室能耗模子,完善了空间信息。凭证实验历程中遇到的问题和履历总结,为医院建设科室能耗治理的标准事情流程。

通过能耗剖析与绩效杠杆的有用连系,全院节能意识获得增强。许多科室自动联系运营司理,咨询详细的科室节能步伐。只有当每小我私家都具备治理节能意识时,才华真正实现全院节能。
经由两年的一连运营,医院实现了能耗分摊科室笼罩率从缺乏30%提升至100%,并实现了周全线上化。在没有任何节能技改步伐的情形下,一连两年实现了用能下降、万元收入能耗支出降低。2022年的万元收入能耗支出较2021年下降了7.21%。